

【产品简介】
该旋振筛整机为不锈钢材质,直径为1000mm,出料口为50mm的圆管,方便客户的连接使用,适用于对出料口尺寸有特殊要求的客户。
免费获取报价
全国统一销售热线
1000型三层不锈钢旋振筛简介:
1000型三层不锈钢旋振筛出料口做成直径为50mm的圆管,方便客户连接其他设备。它是一种高精度细粉筛分机械,工作原理是由直立式电机作激振源,电机上、下两端安装有偏心重锤,将电机的旋转运动转变为水平、垂直、倾斜的三次元运动,再把这个运动传递给筛面。调节上、下两端的相位角,可以改变物料在筛面上的运动轨迹,由于其振动运转原理很多企业也称之为“三次元振动筛分过滤机”,根据外形结构被部分客户称呼为圆形筛。
1000型三层不锈钢旋振筛细节展示:

1000型三层不锈钢旋振筛特点:
☆ 效率高、设计精巧耐用,粉类、粘液均可筛分。
☆ 换网容易、操作简单、清洗方便。
☆ 网孔不堵塞、粉末不飞扬、可筛至400目或0.028mm。
☆ 杂质、粗料自动排出,可以连续作业。
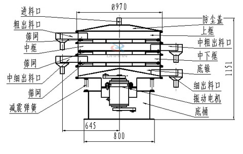
1000型三层不锈钢旋振筛结构图:
旋振筛厂家—大汉振动机械可特殊制造多种类型的旋振筛:

奶粉的筛选离不开振动筛设备,一般厂家建议选择不锈钢旋振筛...
筛分面粉一般选择的振动筛是不锈钢旋振筛,而其价格一直是用...
大汉医药不锈钢旋振筛价格: 500045000 医药不锈钢旋振筛整机采...
不锈钢旋振筛采用304不锈钢材质,耐磨性、耐腐蚀性能好,筛分...
Copyright ? 2007-2020 新乡市大汉振动机械有限公司 版权所有
All Rights Reserved 备案序号:豫ICP备09002479号-15